Ep1691579a1 Elektrische Heizvorrichtung Insbesondere Fur Den Einsatz In Kraftfahrzeugen Google Patents

De112010001422t5 Phosphorus Containing Phenolic Novolac Resin Curing Agent And Epoxy Resin Composition Comprising The Same Google Patents
De102014118655a1 Kontaktelement Fur Eine Leiterplatte Google Patents
De112010001422t5 Phosphorus Containing Phenolic Novolac Resin Curing Agent And Epoxy Resin Composition Comprising The Same Google Patents
Wo2007003465a1 Leiterplatte Mit Einer Oberflache Mit Mehreren Kontaktflachen Verfahren Zur Beschichtung Von Kontaktflachen Einer Leiterplatte Und Verfahren Zum Leitkleben Eines Elektrischen Oder Elektronischen Bauteils Auf Einer Leiterplatte
De10300518b4 Device For Loading Substrates With Components And Method For Calibrating Such A Device Google Patents
Ep0410334a1 Azeotropartige Und Azeotrope Zusammensetzungen Aus Trichlortrifluorethan Trans 1 2 Dichlorethylen Und Einem Alkanol Google Patents
Ep2887778a1 Flexible Leiterplatte Mit Kuhlkorper Google Patents
Wo2008012165a9 Method And Wave Soldering System For Soldering Components Onto The Top And Bottom Surface Of A Circuit Board Google Patents
Ep3076498a1 Device And Method For Fabricating Brush Blocks For Slip Rings Google Patents
Ep0048406a2 Heat Dissipating Printed Circuit Board Google Patents
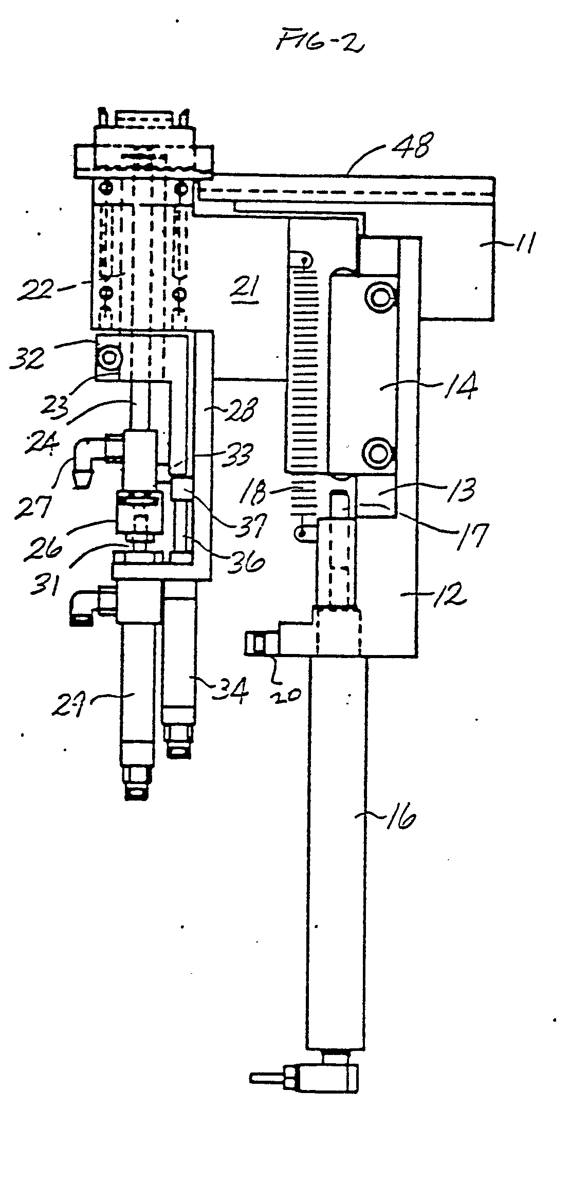
Ep0292119a2 Schwebende Krone Fur Einen Kopf Zum Bestucken Und Herausziehen Google Patents
Ep0600051b1 Verfahren Zur Herstellung Von Leiterplatten Unter Verwendung Eines Halbzeuges Mit Extrem Dichter Verdrahtung Fur Die Signalfuhrung Google Patents
Ep0292119a2 Schwebende Krone Fur Einen Kopf Zum Bestucken Und Herausziehen Google Patents
De102016103361a1 Modular Connector Housing Modular Building Block For A Family Of Connector Housings And Electrical Connectors Google Patents
Wo2012066064a2 Vorrichtung Und Verfahren Zur Bestimmung Der Startfahigkeit Eines Verbrennungsmotors Google Patents
Ep0292119a2 Schwebende Krone Fur Einen Kopf Zum Bestucken Und Herausziehen Google Patents
Ep0292119a2 Schwebende Krone Fur Einen Kopf Zum Bestucken Und Herausziehen Google Patents
Wo2004017697a1 Verfahren Zur Warmeableitung In Mobilfunkgeraten Und Ein Entsprechendes Mobilfunkgerat Google Patents
Ep0346737a2 Dehnbares Nadelfeld Google Patents
Post a Comment for "Leiterplatte Bestückt"