De69917577t2 Differential Oil Pressure Control Unit And Method Google Patents

Ep0451541b1 Herstellung Von Mehrschichtigen Leiterplatten Mit Erhohter Leiterbahnendichte Google Patents
De69917577t2 Differential Oil Pressure Control Unit And Method Google Patents
Ep1721880a1 Metallized Ceramic Molding Process For Producing The Same And Peltier Device Google Patents
Ep0048406a2 Heat Dissipating Printed Circuit Board Google Patents
Ep0738007a2 Substrat De Circuit A Multi Couche A Base Metallique Google Patents
Ep1843650b1 Method Of Manufacturing A Multilayered Printed Circuit Board Google Patents
Wo2007003465a1 Leiterplatte Mit Einer Oberflache Mit Mehreren Kontaktflachen Verfahren Zur Beschichtung Von Kontaktflachen Einer Leiterplatte Und Verfahren Zum Leitkleben Eines Elektrischen Oder Elektronischen Bauteils Auf Einer Leiterplatte
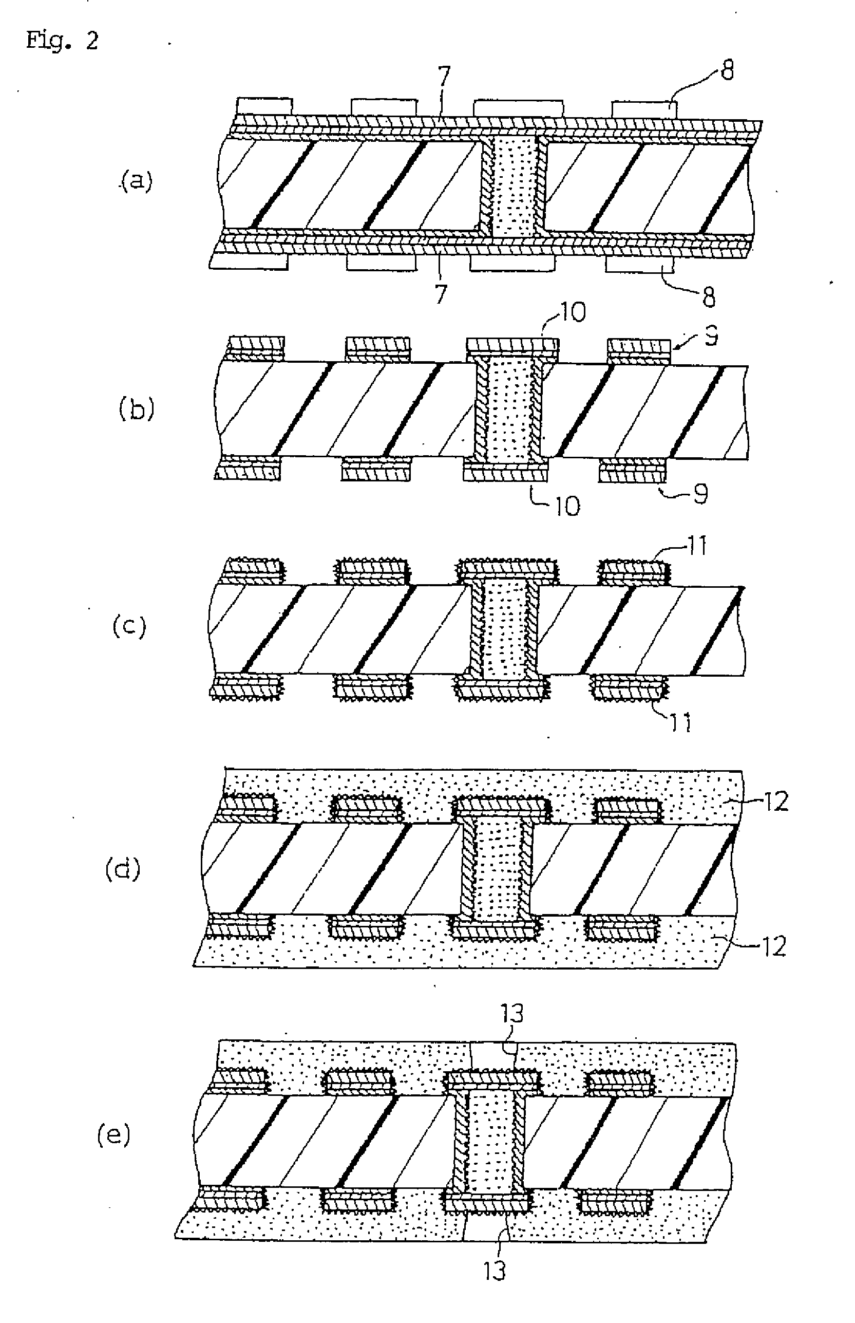
Ep0723736b1 Verbinden Von Innenschichten In Der Leiterplattenherstellung Google Patents
De10084799t5 Universal Intrinsically Safe Switching Power Supply Google Patents
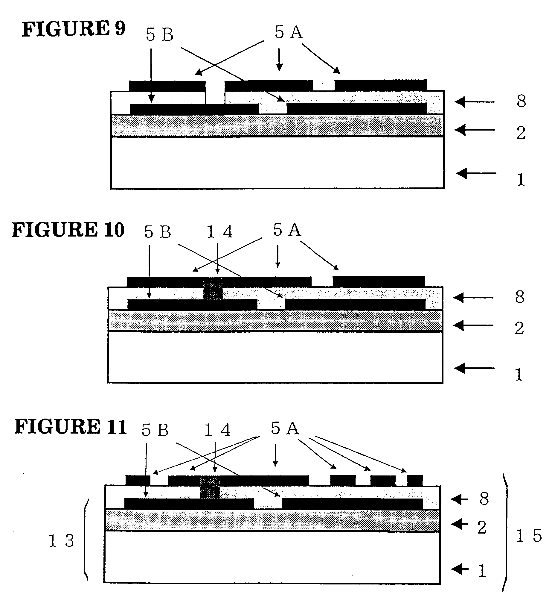
Ep1699278a2 Multilayer Printed Wiring Board And Method For Producing The Same Google Patents
Ep0738007a2 Substrat De Circuit A Multi Couche A Base Metallique Google Patents
Ep1874101a1 Metal Base Circuit Board Led And Led Light Source Unit Google Patents
De69917577t2 Differential Oil Pressure Control Unit And Method Google Patents
Ep0701262a1 Inductor And Method For Producing The Same Google Patents
Ep1843650b1 Method Of Manufacturing A Multilayered Printed Circuit Board Google Patents
Ep2360705a1 Wandler Leiterplatte Damit Und Anzeigevorrichtung Mit Leiterplatte Google Patents
Wo2002068831a1 Assembly Element For Interlinking Two Objects Google Patents
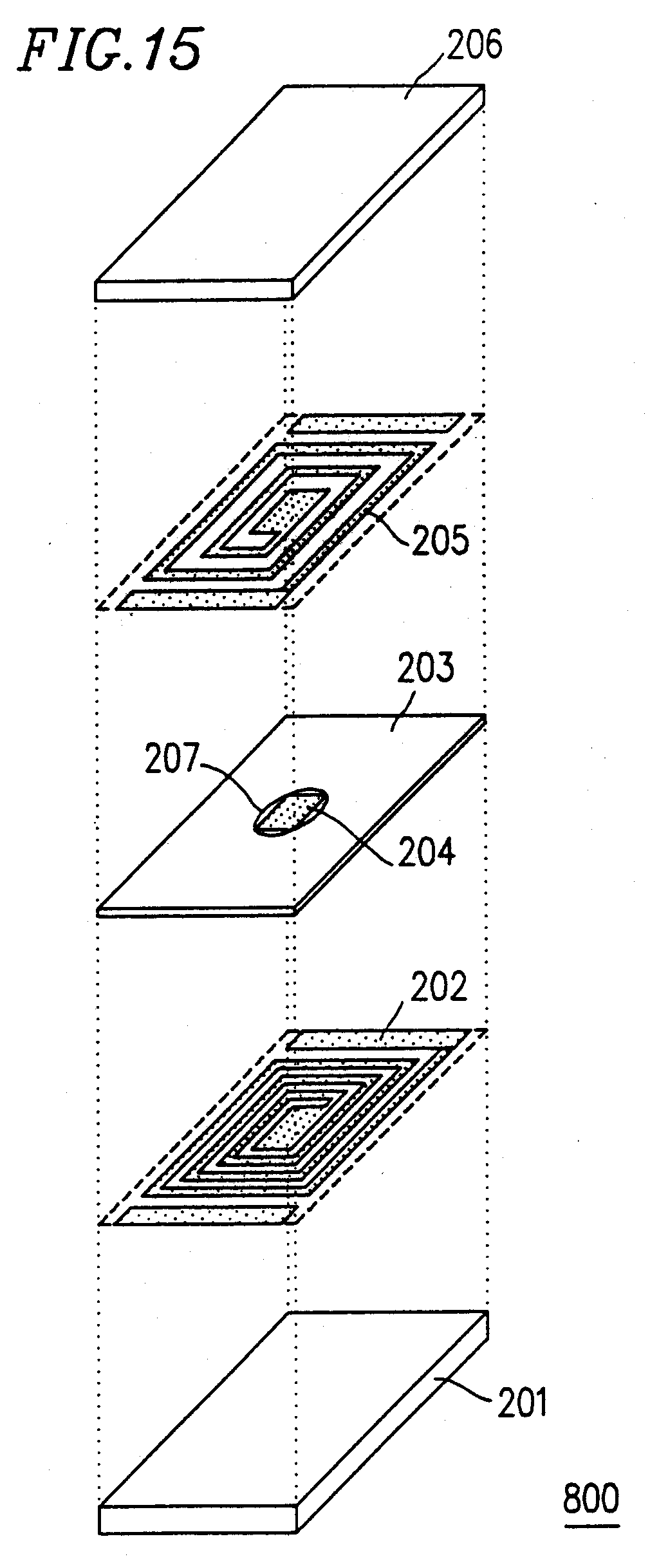
Ep1150311a2 Composite Magnetic Material And Composite Dielectric Material For Electronic Parts Google Patents
Ep0451541b1 Herstellung Von Mehrschichtigen Leiterplatten Mit Erhohter Leiterbahnendichte Google Patents
Post a Comment for "Leiterplatte Material"